TPO - Hai chiếc xe bay đã va chạm trong buổi diễn tập cho Triển lãm Hàng không Trường Xuân (Trung Quốc), nguyên nhân được cho là do “khoảng cách không đủ”.
TPO - Video mới được camera hành trình ghi lại, một chiếc ô tô không rõ nguyên nhân đã bay vòng qua đường rồi rơi xuống với kết cục tan nát. Vụ việc xảy ra vào ngày 14/7 tại Mỹ.
TPO - Chiếc ôtô bay có hình dáng gọn gàng, được công ty Hoversurf của Nga phát triển, đã có màn chạy thử nghiệm đầu tiên và sẽ sớm được sản xuất hàng loạt.
TPO - Video về chiếc xe bay mới được đăng tải lên Youtube mới đây cho thấy một thiết kế tiệm cận đến khả năng vận hành cả trên đường và trên không khi cần.
TPO - Xe bay, trong đó nổi bật là taxi bay được kỳ vọng sẽ khiến “ác mộng” tắc đường của các đô thị lớn có rơi vào quên lãng, giúp tiết kiệm thời gian cũng như khắc phục các nhược điểm của phương tiện giao thông truyền thống.
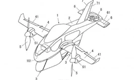
TPO - Một công ty chuyên về mạng và IT của Nhật Bản vừa tung ra bản mẫu của ôtô bay chạy điện, nhằm giới thiệu các công nghệ điều khiển và liên lạc có thể sử dụng trong quá trình phát triển loại hình phương tiện mới này.
Chiếc môtô tên Lazareth có thể bay với độ cao hơn 1 m. Sau khi nhấn nút, phương tiện này có 4 bánh xe quay sẽ hoạt động giúp cung cấp lực nâng và đẩy lên bầu trời.
Môtô bay Scorpion-3 bắt đầu nhận đặt hàng trước, hứa hẹn sẽ góp phần lớn vào việc giải quyết các vấn nạn giao thông đường bộ hiện nay như nạn quái xế, kẹt xe hoặc tội phạm tốc độ cao.
TPO - Một startup đến từ Silicon Valley có tên Opener đã phát triển thành công phiên bản mẫu cho ôtô bay của họ và khẳng định "ai cũng có thể lái được".
TPO - Trong tương lai, các phương tiện bay cá nhận có thể sẽ rất cần thiết. Vì vậy, ngay từ lúc này, nhiều công ty đang tiến gần đến việc thương mại hóa các mẫu xe bay và taxi bay tự động. Đây là một số mẫu xe bay có thể sẽ trở thành hiện thực.